Bienvenue, Invité. Merci de vous connecter ou de vous inscrire.
Avez-vous perdu votre e-mail d'activation ?

28 novembre 2025 à 10:41:41

Login with username, password and session length

Sujets récents

Auteur Sujet: Actualités, Nouveautés Honda  (Lu 3580921 fois)

Hors ligne zouzou60

  • Bonobien Maximus
  • *****
  • Messages: 61443
Re : Actualités, Nouveautés Honda
« Réponse #7185 le: 02 novembre 2016 à 20:31:54 »
La publication officielle:

La Honda Clarity Fuel Cell affiche une autonomie de 589 km homologuée par l’EPA


http://hondanews.eu/fr/fr/cars/media/pressreleases/82514/la-honda-clarity-fuel-cell-affiche-une-autonomie-de-589-km-homologuee-par-lepa
Accord Tourer gen8 2.4l BVA luxury (2013), une des dernières vendues en France. Prelude gen3 2l 16s 4WS (1989), un rêve!
Ex Accord Tourer gen7 2l BVA Sport (2003).

Hors ligne zouzou60

  • Bonobien Maximus
  • *****
  • Messages: 61443
Re : Actualités, Nouveautés Honda
« Réponse #7186 le: 03 novembre 2016 à 08:00:19 »
Honda's Hachigo: Betting on stable market

http://www.autonews.com/article/20161024/OEM08/310249995/1221?X-IgnoreUserAgent=1

"In 2017, we will launch a plug-in hybrid in the U.S. as well. By 2030, we want two-thirds of our global sales from some kind of electrified vehicles.

And within that, we want 50 percent to be hybrid or plug-in hybrid. For the U.S. as well, we will be deploying plug-ins as the core and then bringing in other electrified technology. "
« Modifié: 03 novembre 2016 à 08:04:51 par zouzou60 »
Accord Tourer gen8 2.4l BVA luxury (2013), une des dernières vendues en France. Prelude gen3 2l 16s 4WS (1989), un rêve!
Ex Accord Tourer gen7 2l BVA Sport (2003).

Hors ligne zouzou60

  • Bonobien Maximus
  • *****
  • Messages: 61443
Re : Actualités, Nouveautés Honda
« Réponse #7187 le: 03 novembre 2016 à 20:21:38 »
Coopération inédite entre Honda et Yamaha au Japon

https://www.google.fr/amp/www.lesechos.fr/amp/2039813.php

Un nouveau grand constructeur... de motos!

Accord Tourer gen8 2.4l BVA luxury (2013), une des dernières vendues en France. Prelude gen3 2l 16s 4WS (1989), un rêve!
Ex Accord Tourer gen7 2l BVA Sport (2003).

Hors ligne zouzou60

  • Bonobien Maximus
  • *****
  • Messages: 61443
Re : Actualités, Nouveautés Honda
« Réponse #7188 le: 04 novembre 2016 à 07:54:50 »
La retraite c'est 65 ans chez Honda maintenant et plus 60 ans...

Honda's Simple Solution To Stronger Yen Pain: Make Workers Work Longer

http://www.forbes.com/sites/bertelschmitt/2016/10/31/hondas-simple-solution-to-stronger-yen-pain-make-workers-work-longer/#56cc99901966
Accord Tourer gen8 2.4l BVA luxury (2013), une des dernières vendues en France. Prelude gen3 2l 16s 4WS (1989), un rêve!
Ex Accord Tourer gen7 2l BVA Sport (2003).

Hors ligne zouzou60

  • Bonobien Maximus
  • *****
  • Messages: 61443
Re : Actualités, Nouveautés Honda
« Réponse #7189 le: 11 novembre 2016 à 09:43:54 »
Accord Tourer gen8 2.4l BVA luxury (2013), une des dernières vendues en France. Prelude gen3 2l 16s 4WS (1989), un rêve!
Ex Accord Tourer gen7 2l BVA Sport (2003).

Hors ligne hondasan

  • Bonobien Erectus
  • ****
  • Messages: 23255
Re : Actualités, Nouveautés Honda
« Réponse #7190 le: 11 novembre 2016 à 11:46:14 »
Moi
Civic I 122000 Km (15/01/1979 - 27/08/1982)                Civic II 164000 Km (27/08/82 - 26/06/86)
Civic III 193000 Km (26/06/86 - 04/10/91)                      Civic IV 196500 Km LPG (04/10/91 - 08/11/96) Accord V 267000 Km LPG(08/11/96 - 01/06/04)               Civic VII 227000 Km Diesel (01/06/04 - 24/12/12) CR-V 4 2.0 I-VTEC BVA   ?????? Km  (24/12/12 - ??/??/??)  Madame Jazz 1(2) 259.384 Km (14/04/2003 - 18/03/2015)         Jazz2(3) CVT 124800Km  (18/04/15 - 24/05/23)

Hors ligne AoS

  • Gardien du Temple
  • Bonobien Maximus
  • *****
  • Messages: 55215
  • Karma Police
    • Planète Honda
Re : Actualités, Nouveautés Honda
« Réponse #7191 le: 11 novembre 2016 à 15:52:38 »
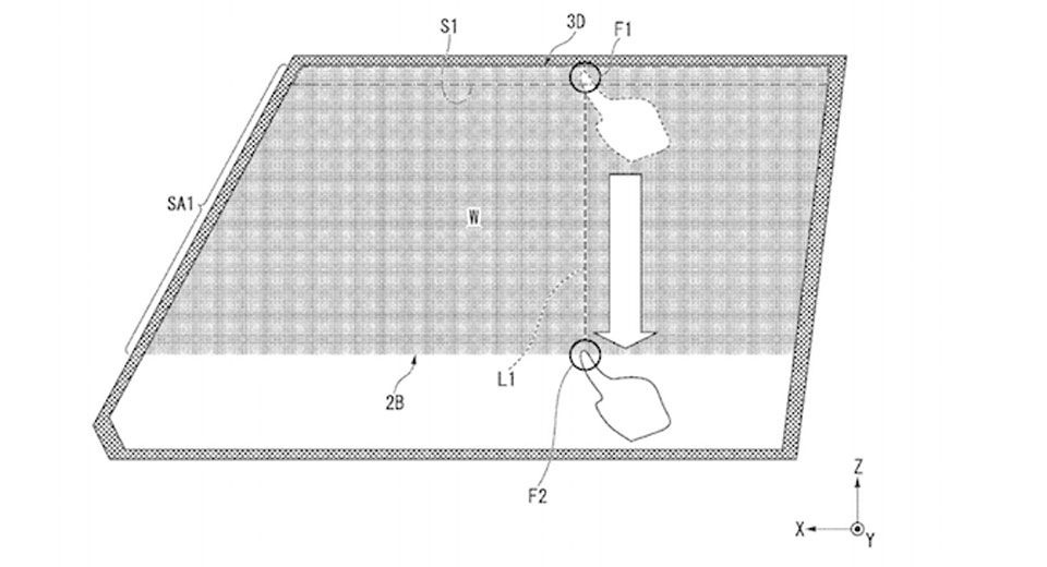
Honda dépose un brevet sur des vitres qui s'auto-teinteraient via une fonction tactile  ;)



http://www.carscoops.com/2016/11/honda-patents-advanced-touch-sensitive.html
Tesla Model 3 & Y ... en attendant qu'Honda nous sorte un VE cohérent !
Ex: HR-V 1.6 VTEC 2000, CR-V 2 2.2 i-CTDI 2005, CR-V 3 2.2 i-CTDI 2009, CR-V 3 i-VTEC 2010 (Madame), CR-V 4 i-VTEC 2013

Hors ligne zouzou60

  • Bonobien Maximus
  • *****
  • Messages: 61443
Re : Actualités, Nouveautés Honda
« Réponse #7192 le: 14 novembre 2016 à 10:45:21 »
Honda Achieves Largest Year-Over-Year Increase in Fleet Average Fuel Economy of Any Automaker, According to the EPA

Honda is pleased to be recognized for achieving the largest year-over-year increase in fleet average fuel economy of any automaker in the EPA's 2016 Light-Duty Automotive Technology, Carbon Dioxide Emissions, and Fuel Economy Trends report announced on Wednesday, Nov. 2. Honda's strong showing, year after year, reflects sustained commitment in the area of fuel economy and greenhouse gas emissions performance.

Over the past four years combined, Honda has significantly outperformed its greenhouse gas emissions requirement – an achievement equivalent to eliminating the emissions from more than 400,000 Honda cars and trucks.

Honda has led the auto industry with technology to improve fuel economy, including a new lineup of turbocharged engines, continuously variable transmissions (CVTs) and hybrid technologies.  With the already announced plans to introduce a new generation of electrified vehicles beginning later this year, Honda will continue to lead the effort to advance fuel economy to reduce greenhouse gas emissions.

http://news.honda.com/newsandviews/article.aspx?id=9301-en&awesm=honda.us_dCj
Accord Tourer gen8 2.4l BVA luxury (2013), une des dernières vendues en France. Prelude gen3 2l 16s 4WS (1989), un rêve!
Ex Accord Tourer gen7 2l BVA Sport (2003).

Hors ligne zouzou60

  • Bonobien Maximus
  • *****
  • Messages: 61443
Re : Actualités, Nouveautés Honda
« Réponse #7193 le: 14 novembre 2016 à 14:33:48 »
"Nous avons pu essayer un prototype de Honda Civic doté d'un compresseur électrique signé Delphi. Simplement doté d'un réseau 12 V, celui-ci n'apporte pas un bénéfice en agrément flagrant, si ce n'est une réactivité légèrement meilleure à bas régimes. L'équipementier confesse que les autres prototypes en 48 V, dotées en plus d'un moteur d'assistance, font preuve de résultats plus convaincants. Voilà la preuve que cette tension rehaussée est nécessaire, pour obtenir une puissance supérieure. La Suzuki Baleno SHVS, qui conserve un réseau 12 V, devrait donc rester un cas isolé."

http://www.challenges.fr/automobile/dossiers/pourquoi-l-electrification-et-l-hybridation-sont-indispensables-a-l-avenir-du-diesel_437009#xtor=EPR-1-[ChaActu10h]-20161114
Accord Tourer gen8 2.4l BVA luxury (2013), une des dernières vendues en France. Prelude gen3 2l 16s 4WS (1989), un rêve!
Ex Accord Tourer gen7 2l BVA Sport (2003).

Hors ligne Harry

  • Gardien du Temple
  • Bonobien Maximus
  • *****
  • Messages: 70297
Re : Actualités, Nouveautés Honda
« Réponse #7194 le: 15 novembre 2016 à 11:41:48 »
Honda a présenté les CR-V/HR-V Black Edition et la Jazz Spotlight Edition au Mondial de l'Auto mais on ne trouve pas trace de ces versions sur le site Honda, ni même chez les CC. C'était juste pour le fun et pour occuper l'espace du stand, ou ces versions vont-elles être commercialisées ?   ???
=> Tesla Model Y Propulsion  11/2023
=> VW ID.3 Life Max 58 kWh 10/2024

Hors ligne AoS

  • Gardien du Temple
  • Bonobien Maximus
  • *****
  • Messages: 55215
  • Karma Police
    • Planète Honda
Re : Actualités, Nouveautés Honda
« Réponse #7195 le: 15 novembre 2016 à 14:02:10 »
Le CR-V Black Edition est dispo chez nous ... mais nous l'avions déjà avant le restylage.

http://www.fr.honda.ch/cars/new/crv-2015/black-edition.html

Il doit aussi y avoir une Civic Type-R "White Edition", non?

Tiens, au passage, j'ai vu qu'on retrouve quelques HR-V 1.8 i-VTEC 4x4 neufs en vente sur autoscout24.ch ... sûrement des imports.

http://www.autoscout24.ch/fr/voitures/-honda--hr-v?allmakes=1&body=46&drive=24&make=29&model=238&st=2&vehtyp=10&yearfrom=2015

Edit: des Civic Type-R Black & White Edition, on en trouve  ;)

http://www.autoscout24.ch/fr/voitures/-honda--civic?allmakes=1&hpfrom=300&make=29&model=235&st=2&typename=edition&vehtyp=10&yearfrom=2015
« Modifié: 15 novembre 2016 à 14:05:10 par AoS »
Tesla Model 3 & Y ... en attendant qu'Honda nous sorte un VE cohérent !
Ex: HR-V 1.6 VTEC 2000, CR-V 2 2.2 i-CTDI 2005, CR-V 3 2.2 i-CTDI 2009, CR-V 3 i-VTEC 2010 (Madame), CR-V 4 i-VTEC 2013

Hors ligne zouzou60

  • Bonobien Maximus
  • *****
  • Messages: 61443
Re : Actualités, Nouveautés Honda
« Réponse #7196 le: 15 novembre 2016 à 15:00:11 »
Meet the bees at Honda's manufacturing facility in Swindon. Do different. Make different.

http://www.youtube.com/watch?v=MUiv9KrmwVQ
Accord Tourer gen8 2.4l BVA luxury (2013), une des dernières vendues en France. Prelude gen3 2l 16s 4WS (1989), un rêve!
Ex Accord Tourer gen7 2l BVA Sport (2003).

Hors ligne Harry

  • Gardien du Temple
  • Bonobien Maximus
  • *****
  • Messages: 70297
Re : Actualités, Nouveautés Honda
« Réponse #7197 le: 15 novembre 2016 à 17:22:48 »
Le CR-V Black Edition est dispo chez nous ... mais nous l'avions déjà avant le restylage.

http://www.fr.honda.ch/cars/new/crv-2015/black-edition.html

Il doit aussi y avoir une Civic Type-R "White Edition", non?

Tiens, au passage, j'ai vu qu'on retrouve quelques HR-V 1.8 i-VTEC 4x4 neufs en vente sur autoscout24.ch ... sûrement des imports.

http://www.autoscout24.ch/fr/voitures/-honda--hr-v?allmakes=1&body=46&drive=24&make=29&model=238&st=2&vehtyp=10&yearfrom=2015

Edit: des Civic Type-R Black & White Edition, on en trouve  ;)

http://www.autoscout24.ch/fr/voitures/-honda--civic?allmakes=1&hpfrom=300&make=29&model=235&st=2&typename=edition&vehtyp=10&yearfrom=2015

La Suisse est l'enfant chéri de Honda Europe !!  :P  ;)

La Civic Type R White Edition on y a droit aussi, mais pas le CR-V (ni même dans sa version avant restylage).
=> Tesla Model Y Propulsion  11/2023
=> VW ID.3 Life Max 58 kWh 10/2024

Hors ligne Briosa85

  • Jeune PHiste
  • *
  • Messages: 36
Re : Actualités, Nouveautés Honda
« Réponse #7198 le: 17 novembre 2016 à 14:15:14 »
Merci AoS. J'avais pas connaissance de la série "white edition" sur les FK2, je connaissais uniquement sur les FN2.

Les CR-V en "black edition" ils sont vraiment cool, ils en avait deux en expo quand je suis allé chercher mon Hr-v, un noir et un blanc. Le noir avec les jantes noir il est magnifique!  ;)

Sur les Hr-v en 1.8 4x4, ce qui est dommage c'est de payer 10 tickets de plus pour un véhicule moins bien équipé! Même avec le 1.8 je trouve pas que ça compense la différence de prix... 
"Tes échecs ne doivent pas atteindre ton cœur, et ton succès ne doit pas te monter à la tête..." @Soichiro Honda

Hors ligne AoS

  • Gardien du Temple
  • Bonobien Maximus
  • *****
  • Messages: 55215
  • Karma Police
    • Planète Honda
Re : Actualités, Nouveautés Honda
« Réponse #7199 le: 17 novembre 2016 à 14:24:55 »
Sur les Hr-v en 1.8 4x4, ce qui est dommage c'est de payer 10 tickets de plus pour un véhicule moins bien équipé! Même avec le 1.8 je trouve pas que ça compense la différence de prix...

C'est clair ... pour 26.000 CHF, tu trouves même un CR-V 2.0 4x4 BVA en finition Lifestyle (donc très bien équipé): http://www.autoscout24.ch/fr/d/honda-cr-v-suvtout-terrain-2016-neuf?allmakes=1&body=46&drive=24&index=0&kmto=1000&make=29&model=237&sort=price_asc&st=2&vehid=4383238&vehtyp=10&returnurl=%2ffr%2fvoitures%2f-honda--cr-v%3fallmakes%3d1%26body%3d46%26drive%3d24%26kmto%3d1000%26make%3d29%26model%3d237%26sort%3dprice_asc%26st%3d2%26vehtyp%3d10%26r%3d5
Tesla Model 3 & Y ... en attendant qu'Honda nous sorte un VE cohérent !
Ex: HR-V 1.6 VTEC 2000, CR-V 2 2.2 i-CTDI 2005, CR-V 3 2.2 i-CTDI 2009, CR-V 3 i-VTEC 2010 (Madame), CR-V 4 i-VTEC 2013